产品分类 : 1-丁氧基-2-丙醇
型号 : SGA-501W/506W-C7H16O2
产品描述 : SGA-501W/506W系列无线1-丁氧基-2-丙醇气体检测仪是深国安将十多年气体检测仪生产经验与无线传输技术有机融合,自主研发生产的一款、性能稳定、安全可靠的无线气体检测仪表;产品无需布线,即可无界限地实现数据无线远传;无论您身在何处,都可通过深国安物联网平台的电脑PC端或手机APP客户端实时查看、分析或导出监测数据。
SGA-501W/506W系列
无线固定式1-丁氧基-2-丙醇(C7H16O2)气体检测仪

一、 固定式无线1-丁氧基-2-丙醇气体检测仪产品概述
SGA-501W/506W系列无线1-丁氧基-2-丙醇气体检测仪是深国安将十多年气体检测仪生产经验与无线传输技术有机融合,自主研发生产的一款、性能稳定、安全可靠的无线气体检测仪表;产品无需布线,即可无界限地实现数据无线远传;无论您身在何处,都可通过深国安物联网平台的电脑PC端或手机APP客户端实时查看、分析或导出监测数据。还可绑定个人微信,数据异常时自动消息提示;SGA-501W/506W系列无线1-丁氧基-2-丙醇气体检测仪可根据客户需要任意搭配1-6种目标气体组合,气体种类不限,检测量程不限,采样方式不限,分辨率不限,并支持选配温湿度、PM2.5、PM10粉尘颗粒物检测功能;产品采用工业级外观设计,严格遵照GB50493-2009《石油化工可燃气体和有毒气体检测报警设计规范》研发生产,并取得相关的CPA型式批准证书、国家防爆证和第三方计量证书和外观专利证书等;
SGA-501W/506W系列无线1-丁氧基-2-丙醇气体检测仪采用深国安典型的家族式盾形外观设计,配备工业级铝合金防护外壳,坚固耐用;2.4英寸超大屏幕,完美显示目标气体、浓度、单位、指示灯、工作状态等各项参数;中英文、繁体,操作界面,适合所有人群;目标气体超标自动报警,风机、阀门等设备的联动;仪器三级报警点、平台报警条件、报警方式自由设置;客户可通过物联网平台接收短信、微信、邮箱、语音等方式接收报警信息,提醒相关人员进行处理;强大的数据存储功能,不仅支持无线检测仪本地进行存储数据,也可通过物联网平台存储数据,自由设置存储间隔时间,实时生成历史记录、历史曲线、报警记录、数据导出、监测时间、设备定位等;国外原装进口芯片,精度高、稳定性强、误差率低;ZIGBEE、NRF、WIFI、GPRS多种无线信号传输,无线模块可将采集的无线信号发给相应的采集系统,上传给PLC、DCS、DDC等上位机系统;全量程温湿度补偿智能运算,32位纳米级微处理器+24位超高ADC采集芯片,确保产品在长期运行过程的数据稳定、传输稳定。
SGA-501W/506W系列无线1-丁氧基-2-丙醇气体检测仪除基本的气体检测、继电器输出联动设备功能外,还有许多行业内首创的最新技术应用;如智能校准、智能提醒、一键消音、数据存储、三级报警、量程修改、报警方式多样、平台场景化、个性化设置、截取时间段数据、自主命名、添加多个联系人、流量提醒等功能,开放设备内部权限,使得客户拥有最大的自主权;按照气体数量的多少,为SGA-501W系列无线单一气体检测仪、SGA-506W系列无线多合一气体检测仪,具体区别请参照下面产品参数列表。
别名:
固定式无线气体检测仪、无线有毒有害气体检测仪、无线易燃易爆气体检测仪、无线气体泄漏报警器、防爆型无线气体检测仪、固定式无线气体变送器、隔爆型无线气体检漏仪、24小时在线监测无线气体检测仪、无线气体传感器、无线气体探测器、无线气体报警仪、无线信号输出气体检测仪、无线信号传输气体报警器、GPRS信号传输气体检测仪、WIFI信号传输气体报警器、ZIGBEE信号传输气体探头、NRF信号传输气体检测仪、无线信号传输气体传感器。
二、固定式无线1-丁氧基-2-丙醇气体检测仪产品特点
◆1-6种气体任意组合,支持1000多种检测
兼容1000多种易燃易爆、有毒气体、挥发性气体检测
1-6种气体任意组合、技术原理不限、检测范围不限
◆智能传感技术,自动识别扩展,一机多用
内置深国安预标定好的智能气体传感器,即插即用,自动识别
可通过更换不同的智能气体传感器,实现对现有4种气体以外的气体进行检测,一机多用,节约成本
作为易耗品的气体传感器寿命到期后,不需拆卸和返厂,直接更换智能气体传感器即可,维护方便
◆友好人机界面,完美展现各项监测数据
2.4英寸高清液晶彩屏,实时显示检测气体、检测单位、检测浓度值、温度、湿度、报警记录等信息
检测仪运用气体安全系数与颜色预警法相结合,通过可视化的颜色管理来提醒相应的安全系数
平台人性化设计,简单大方,操作简便,实时显示监测数值、日期时间等参数
◆反应灵敏、测量精准、精确度高
深国安采用32位处理芯片,可以精准识到可媲美分析仪级别的ppb浓度
深国安100%选用国外原装进口气体传感器,极大地保障了产品安全性和稳定性
全量程温湿度补偿和深国安专利数据修正功能,确保不同环境下长期使用
◆智能校准、多级修正,高低浓度线性好
零点自动校准
基准线自动修正
目标点多级校准
◆智能提醒,售后无忧
传感器故障、到期或损坏时,自动提醒
气体检测仪到达校准期限时,自动提醒校准
气体检测仪到达寿命期限时,自动提醒报废及更换新品
◆检测单位自由切换,检测量程可大可小
深国安支持切换的单位有umol/mol、ppm、ppb、%LEL、%VOL、mg/m3、ug/m3、g/m3、mg/l、g/l等
检测量程可根据实际需求,将浓度扩大或缩小
◆多种信号输出可选,传输多样化
深国安提供无线远程方式有:WIFI、ROLA、ZIGBEE、NOB-LOT、GPRS、蓝牙、无线网桥等
深国安提供有线远程方式有:RS485、RS232、4-20mA、0-5V、以太网口等
默认无线GPRS传输,确保数据传输稳定,不受监测位置距离的影响
物联网全网能4G流量卡,通过深国安物联网平台可以实时查看消费流量
◆采样方式灵活多变,兼容性强
深国安专利设计,一个气室可自然扩散式采样,也管道式采样,也可泵吸式主动采样
◆AI监测,智能联动、安全无忧
AI智能监测,超标可自动本地声光报警、提醒人员安全撤离
检测仪内置2组无源触点继电器,达到预设报警点时智能启停相关联动设置,自动排除险情
云平台多种报警条件、报警方式灵活多变,报警信息可一人或多人接收
◆大容量数据存储,记录安全每一刻
检测仪自动存储开机时间、关机时间、故障记录和报警记录等信息,
检测仪支持10万条以上数据存储,平台支持无限条数据存储
检测仪存储间隔可在1-600秒之间任意设置,平台支持任意设置
云平台支持存储历史记录、报警记录、历史曲线、数据导出、设备定位等
云平台支持截取任意时间段的历史记录(移动式的监测设备还支持走航定位等)
◆严苛环境,应对自如
防爆外壳,防爆等级:ExdⅡCT6 Gb
专利气室设计,防护等级高:IP67
纳米涂层保护,防暴晒,防雨淋、抗酸、抗碱、抗腐蚀
工业级EMC模块,二级防雷,可在强磁和高静电环境下正常使用
高温环境下,可配套深国安专用的高温探针,支持最高800℃环境下直接采样使用
高湿环境下,可配套深国安专用的高效除尘过滤器+干燥管,支技最高99%RH环境下直接采样使用
高尘环境下,可配套深国安专用的两尘除尘过滤器,最高可过滤掉1um以上的颗粒物和粉尘
◆中英双语界面,真正的全球通
检测仪支持中文简体、中文繁体、英文操作界面自由切换,可内销,也可出口
云平台支持创建个性化物联网监控界面、云组态场景搭建
云平台个性化上传定义传感器数值,开关、图表、曲线
◆智能一键消音,避免吵闹
深国安独有一键消音功能,按键后可使检测仪蜂鸣器短时间停止报警
◆红外遥控,免开盖操作
可通过遥控器,免开盖对检测仪进行报警点、零点调整和目标点调整
◆内置数据备份,可恢复出厂设置
当现场操作失误、数据混乱时,检测仪可通过内置备份数据,恢复到出厂状态
平台监测数据加密分享,安全无忧
监测数据无需下载,所有数据服务均在云端
◆全网跨平台登陆,实时数据同步
支持手机APP、微信公众号、小程序、PC端跨平台登陆,同步查看实时数据
◆资质齐全、厂家直销
深国安先后获得100多项国家专利和荣誉证书,包括ISO9001质量管理体系认证、ISO14001环境管理体系认证、CPA型式批准证书、SIL认证、国家防爆合格证、实用新型专利、外观专利、计算机软著、CE证书、ROHS证书、CNAS检测报告、第三方计量校准证书、软件产品证书、中国仪器仪表会员单位、深圳市环境保护产业协会会员单位、广东省守合同重信用企业、中国气体检测仪十大品牌、质量.服务.信誉AAA企业、高新杯科技小巨人奖、中国绿色环保名优企业、2020年“99公益日”爱心企业等。
三、固定式无线1-丁氧基-2-丙醇气体检测仪技术参数

四、固定式无线气体检测仪产品应用场所
桥洞隧道、管网检修、有限空间作业、煤矿采挖、石油化工、钢铁冶炼、煤炭能源、热力交电、污水处理、疾控医药、烟酒糖茶、实验室、楼宇建设、消防报警、工业过程化控制、锅炉尾气、垃圾处理厂、地下、输油管道、加气站、空气质量检测、食品加工、杀菌消毒、农药化肥等。
五、产品导购

七、固定式无线气体检测仪产品命名规则

八、物联网云平台
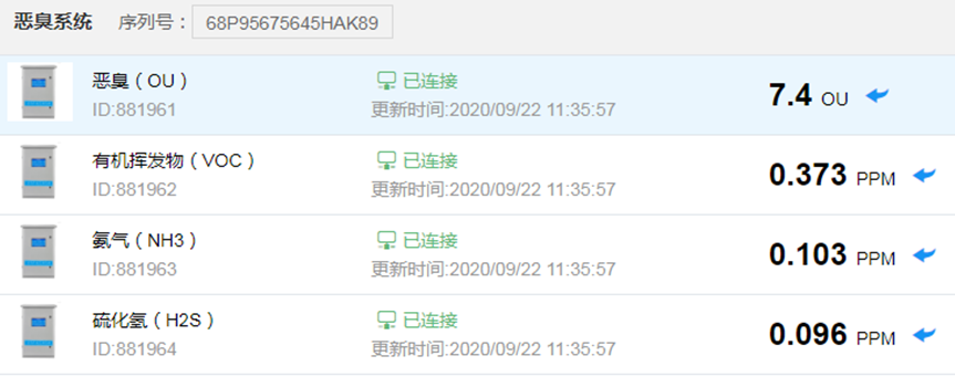
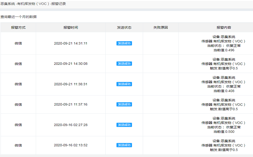
深国安SGA-501W/506W系列无线气体检测仪搭配深国安专用物联网云平台,实现气体无线检测的需求,免去客户复杂布线的麻烦。安装调试完成后可直接在物联网平台中读取检测数值,查看气体检测状态,生成历史曲线,分析气体检测数值。同时深国安物联网云平台还支持SGA-500系列无线气体检测仪、SGA-608系统手提泵吸式气体分析仪、SGA-800系列报警控制器、SGA-900系列预处理型在线监测系统、SGA-900系列恶臭在线监测系统等设备。无论多少台检测设备都可接入到平台中,且可进行各个气体监测设备的定位,实现气体检测的工业化、数据化、智能化管理、提升工作效率。满足客户气体监测的需求。

无线网络拓扑图

设备工作状态

设备定位

历史记录

报警记录

深国安常见气体选型表

※另有1000种气体和量程可选,详细请咨询深国安销售人员!